

主要特性:
★鋁合金外殼
★外殼防撞保護
★1.2英寸高亮數碼管顯示
★雙電瓶配備+省電設計
★多款配套設備,遙控顯示,手機藍牙,無線大屏等
★快速穩定
★功能完善: 自動關機/休眠
遙控關機/喚醒
kg/lb 可設置轉換
去皮功能
累加功能
峰值保持/鎖屏功能
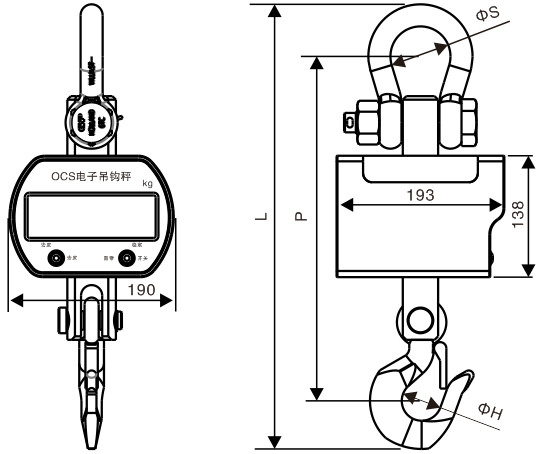
外形尺寸:


備注說明:
1.空曠區域不小于500m, 增強版為1000m, 但電池工作時間將減少
2.多狀態LED顯示, 請參見上圖, 在關機時將顯示吊秤的電量(按百分比)
3.請務必使用配套的充電器, 如需更換電池, 請注意極性
4.任意鍵可喚醒. 可遙控關閉吊秤電源, 但無法遙控開機, 需手動打開吊秤電源